yp电子刮刮卡(中国)官方网站

yp刮刮卡首页 >> 产品展示 >> 电磁阀 >> ZCX消防电磁阀

ZCX消防电磁阀

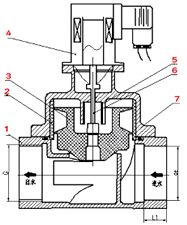
 ZCX系列消防电磁阀  ZCX系列消防电磁阀,外型尺寸图
ZCX消防电磁阀 ZCX消防电磁阀 1.阀体2.大衬套3.阀芯4.线圈5.小衬套6.阀杆7.阀帽

一、ZCX消防电磁阀 应用范围

消防及自动喷淋系统控制

二、ZCX电磁阀 工作原理

 电磁阀的电磁线圈通电时,动铁芯被吸合,带动阀杆上移,弹簧同时被压缩,使阀杆与阀芯中孔(先导孔)分离,阀芯上腔的流体瞬间从中孔缷压,缷压后阀芯在上下腔压差的作用下快速向上浮起,电磁阀开启。电磁阀的线圈断电时,阀杆在弹簧力的作用下关闭阀芯中孔,并推动阀芯向下移,封住流体出口,电磁阀关闭。

三、ZCX消防电磁阀 技术参数

阀体材质:黄铜、不锈钢
工作介质:清水
控制方式:常闭式
公称通径:DN15——DN150
阀芯材料:高强度工程塑料
介质温度:≤80℃
公称压力:1.6Mpa
工作压差:0.01---1.0Mpa
电源:AC220V DC24V
额定流量系数:4—70Kv
特殊功能:具有反馈信号(定货时说明)
泄露量:0ml/min

四、ZCX消防电磁阀 产品特点

浮动阀芯 诱导启闭 专利技术 密封性好
动作灵敏 安全可靠 材质独特 无垢无锈

五、ZCX消防电磁阀 安装尺寸

型号 公称通径
DN
内螺纹
连接G
长*宽*高 启动功率(W) 保持功率(W)
ZCX15 15 1/2" 65*47*116 AC220V:200
DC24V:60
AC220V:3
DC24V:15
ZCX20 20 3/4" 78*55*147
ZCX25 25 1" 100*66*174
ZCX32 32 1(1/4)" 130*94*210 AC220V:350(475)
DC24V:85
AC220V:10
DC24V:20
ZCX40 40 1(1/2)" 135*100*222.5
ZCX50 50 2" 155*147*237
ZCX65 65 2(1/2)" 203*170*305 AC220V:300
DC24V:85
AC220V:10
DC24V:22
ZCX80 80 法兰 280*205*427
ZCX100 100 法兰 300*237*485
ZCX125 125 法兰 325*280*535 AC220V:330
DC24V:85
AC220V:10
DC24V:20
ZCX150 150 法兰 350*315*600