
![]() |
![]() |
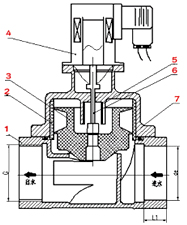
| ZCH化工专用电磁阀 | ZCH化工专用电磁阀 1.阀体2.大衬套3.阀芯4.线圈5.小衬套6.阀杆7.阀帽 |
石油、煤气、化工、医药等行业
电磁阀的电磁线圈通电时,动铁芯被吸合,带动阀杆上移,弹簧同时被压缩,使阀杆与阀芯中孔(先导孔)分离,阀芯上腔的流体瞬间从中孔缷压,缷压后阀芯在上下腔压差的作用下快速向上浮起,电磁阀开启。电磁阀的线圈断电时,阀杆在弹簧力的作用下关闭阀芯中孔,并推动阀芯向下移,封住流体出口,电磁阀关闭。
阀体材质: ABS、PDDA、F4
工作介质:化学流体
控制方式:常闭式
公称通径:DN15——DN80
介质温度:≤60℃
公称压力:1.0 1.6Mpa
工作压差:0.01---1.0Mpa
电源:AC220V DC24V
额定流量系数:4—70Kv
额定功率:22---42VA
泄露量:0ml/min
浮动阀芯 诱导启闭 专利技术 密封性好
动作灵敏 安全可靠 材质独特 无垢无锈
| 公称通径 DN | 粘接承口 内径de | 内螺纹 连接G | 承插长度L1 | 长*宽*高 | 带法兰 长*宽*高 |
|---|---|---|---|---|---|
| 15 | 20 | 1/2" | 16.5 | 68*40*141.5 | 112*95*174 |
| 20 | 25 | 3/4" | 18 | 75*46*150 | 125*105*184.5 |
| 25 | 32 | 1" | 22 | 95*58*182 | 151*115*216.5 |
| 32 | 40 | 1(1/4)" | 26 | 130*85*234 | 194*140*276.5 |
| 40 | 50 | 1(1/2)" | 31.5 | 145*85*243 | 217*145*283 |
| 50 | 63 | 2" | 38 | 180*107*267 | 270*165*312 |
| 65 | 75 | 2(1/2)" | 44 | 215*134*332 | 315*185*378 |
| 80 | 90 | 3" | 51 | 255*165*359 | 365*200*403.5 |