
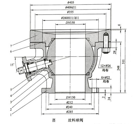
放料球阀是在浮动球阀结构的基础上,结合反应釜使用性能和操作条件设计而成的。如下图为球式放料阀的剖面图,其特点是关闭件为一带孔球体绕通道的垂线进行90°旋转,以达到开启或关闭的目的,球体两端各有一个氟塑料材料制成的密封圈,也称阀座。上密封圈装在反应釜底部放料口下侧凹槽内,这样可使球体紧贴在反应釜的底部,尽量减少球体上死角容积。考虑到制造上的分工和装配的方便,将釜底的放料口设计成一个特殊的凸缘盘,它作为球式放料阀的与反应釜相连接的部件,称为上体,其上表面按反应釜底面的要求加工成凸球面状,球面曲率与反应釜封头大致一样,上体中心放料孔与凹球面的交接处加工成大弧形的过渡面使放料口成为一个向上的喇叭口,上体下面则按球阀装配要求加工,放料口外为装配密封圈的环形槽,其外圈是连接阀体时的定位凸台,和阀体密封面间安装有调节垫片。在外面有均匀分布的螺纹孔,以装入双头螺栓与阀体连接。上体必须先装配镶焊于反应釜的底部,成为反应釜的一部分,打磨内表面焊缝,探伤合格后才能装上阀体、球体部件。阀体内的其他零件基本与通用球阀一致。这种构造的放料阀在关闭状态时部分球体凸出在放料口中,与喇叭口之间还留有一圈凹槽,有可能成为沉积物料的死角,但由于并不太深,槽的上口很宽大,料液容易受搅拌桨作用而翻起混合,可以避免料液的不完全反应现象。

由于球式放料阀总是竖向安装于反应釜的底部,为使操作方便和操纵杆不受反应釜夹套的阻挡,球式放料阀改变球阀惯用的0°~90°的操作死点,而是将操纵杆设计成由右45°向左45°转动为关闭,由左45°向右45°转动为开启,这种操纵杆启闭终点角度更适合于楼上加料,楼下放料操作的反应釜安装方式。操纵杆手柄高度保持在同一水平上,非常方便。